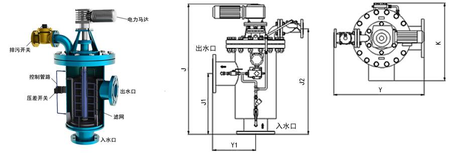
反沖洗過濾器CTF-J
-
單臺處理水量:45-2350m³/h
-
最大工作壓力:0.1-1.6Mpa
-
過濾器清潔時的壓力損失:≤0.018Mpa
-
最高工作水溫:95℃
-
過濾精度范圍:100-3000μm
-
自清洗所需水量:<1%
-
自清洗時間:10-60秒
-
自清洗控制方式:壓差、時間及手動
-
電控方式:交流三相380V/ 50Hz
-
控制界面:數顯、旋鈕、開關
-
濾網類型:316L編織網、楔形網
自清洗過濾器技術數據
|
型號 |
管徑 |
J |
J1 |
J2 |
Y |
Y1 |
K |
出入水口 |
重量 |
濾網面積 |
處理水量 |
|
|
(inch) |
mm |
mm |
mm |
mm |
mm |
mm |
mm |
kg |
cm2 |
m3/h |
|
CTF-J03 |
3 |
886 |
376 |
718 |
683 |
257 |
673 |
80 |
87 |
1165 |
45 |
|
CTF-J04 |
4 |
936 |
411 |
770 |
683 |
257 |
673 |
100 |
106 |
1367 |
65 |
|
CTF-J05 |
5 |
1018 |
461 |
852 |
683 |
257 |
673 |
125 |
132 |
2095 |
105 |
|
CTF-J06 |
6 |
1111 |
523 |
939 |
744 |
303 |
725 |
150 |
197 |
3014 |
150 |
|
CTF-J08 |
8 |
1427 |
715 |
1228 |
820 |
349 |
777 |
200 |
248 |
5270 |
265 |
|
CTF-J10 |
10 |
1685 |
853 |
1439 |
874 |
393 |
826 |
250 |
360 |
7867 |
410 |
|
CTF-J12 |
12 |
1815 |
944 |
1569 |
939 |
458 |
908 |
300 |
486 |
11414 |
590 |
|
CTF-J14 |
14 |
2082 |
1094 |
1792 |
1026 |
545 |
1010 |
350 |
653 |
15552 |
800 |
|
CTF-J16 |
16 |
2360 |
1239 |
2019 |
1098 |
608 |
1111 |
400 |
765 |
20344 |
1050 |
|
CTF-J18 |
18 |
2632 |
1389 |
2245 |
1199 |
679 |
1213 |
450 |
814 |
25751 |
1320 |
|
CTF-J20 |
20 |
2919 |
1547 |
2483 |
1288 |
717 |
1250 |
500 |
920 |
31786 |
1630 |
|
CTF-J24 |
24 |
3510 |
1865 |
2864 |
1458 |
864 |
1440 |
600 |
1038 |
42295 |
2350 |
壓損表

跟此產品相關的產品
/ Related Products
相關資訊
聯系安士睿
郵箱:yianke@163.com
地址:北京市昌平區城北街道侯家庵胡同2號